企業名稱:常州市駿華軸承廠
聯系人:楊具華
電話:0519-83052879
手機:13656113941
郵箱:yangjuhua.88@163.com
傳真:0519-83052879
地址:江蘇省常州市牛塘工業園東新路5號
網址 : m.198tv.com
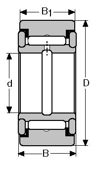
英制支承滾輪軸承具有厚壁外圈,利用這種外圈,滾輪可以直接在滾道上滾動,并可以承受大的負荷。支承滾輪有壓力滾輪、偏心滾輪、搖桿滾輪。滾輪的外徑為圓柱形或球形。利用球形外圈可以使安裝時傾斜位置得到補償.


英制滾輪軸承 英制支撐滾輪軸承CRY..VUU
軸承型號 外形尺寸
密封性 基本型 dXDXBXC
CRY12VUU CRY12V 6.350X19.050X14.288X12.700
CRY14VUU CRY14V 6.350X22.230X14.288X12.700
CRY16VUU CRY16V 7.938X25.400X17.463X15.875
CRY18VUU CRY18V 7.938X28.575X17.463X15.875
CRY20VUU CRY20V 9.525X31.750X20.638X19.050
CRY22VUU CRY22V 9.525X34.925X20.638X19.050
CRY24VUU CRY24V 11.112X38.100X23.813X22.225
CRY26VUU CRY26V 11.112X41.275X23.813X22.225
CRY28VUU CRY28V 12.700X44.450X26.988X25.400
CRY30VUU CRY30V 12.700X47.625X26.988X25.400
CRY32VUU CRY32V 15.875X50.800X33.338X31.750
CRY36VUU CRY36V 15.875X57.150X33.338X31.750
CRY40VUU CRY40V 19.050X63.500X39.688X38.100
CRY44VUU CRY44V 19.050X69.850X39.688X38.100